派克固漂亮导电弹性体/导电橡胶——波导衬料
|
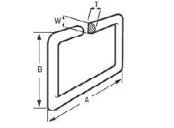
派克固漂亮导电弹性体/导电橡胶——波导衬料 为了对闸门、罩和接触法兰举行有用的EMI屏障和压力密封,Chomerics的波导衬料包管插入少、法兰泄露少、热传输最多和漏气最少。由CHO-SEAL1239和1212导电弹性体制成的衬料是可重复使用的并且不会划伤法兰。
|
|
|
|
|
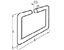
√可用于标准的UG,CPR和CMR法兰 √可定制设计去知足特殊需要或者不常使用的波导尺寸(从WR10至WR2300) √能够带有沿挡板启齿稍微抬高的凸缘,用于高压、大功率应用 √适合于O-形或D-形断面 |
下表列出的衬料将用于所示的标准UG、CPR和CMR法兰。
质料也能定做设计去知足特殊要求或不常用的波导尺寸(从WR 10 至WR 2300),CHO-SEAL 1239质料没有板料。
NA=不适用
列在表的“衬料形状”列中数字1至6指出了衬料的形式,如下所述:
1-模切矩形
2-模切圆形
3-带“O”形断面的模制矩形
4- 带“O”形断面(O-形圈)的模制圆形
5-带“D”形断面(D-形圈)的模制圆形
6-带“D”形断面的模制矩形
关于标准衬料,从表2-8选择物料编号,关于定做形状,必需提供衬料和波导法兰的图纸,并且物料编号将由Chomerics 来确定。
表2:
|
波导衬料 |
||||||||||
|
频率 规模 (GHz) |
频带 |
EIA 波导尺寸 |
JAN 标记 |
法兰说明 |
法兰类型 |
衬料形状 |
Chomerics 物料编号 |
Mil物料编号:M83528/ 013 [ ]-() |
||
|
UG |
CPR |
CMR |
||||||||
|
26. 5-7 40.0 |
Ka |
WR28 |
RG-96/U (银) |
UG-599/U |
|
|
罩 |
1 |
20-01-5000 -1239** |
[G] -(001) |
|
UG-600A/U |
|
|
5 |
20-02 -6510 -1212 |
[K]-(002) |
|||||
|
18.0 -7 26. 5 |
K |
WR42 |
RG-53/U (铜) |
UG-595/U UG-597/U |
|
|
罩 |
1 |
20-01-5005 -1239** |
[G]-(003) |
|
UG-596A/U UG-598A/U |
|
|
阀门 |
5 |
20-02 -6515 -1212 |
[K]-(004) |
||||
|
12.4-7 18.0 |
Ku |
WR62 |
RG-91/U (铜) RG-107/U (银) |
UG-419/U |
|
|
罩 |
1 |
20-01-5010 -1239** |
[G] -(005) |
|
UG-541A/U |
|
|
阀门 |
5 |
20-02 -6520 -1212 |
[K]-(006) |
||||
|
10.0 -7 15.0 |
|
WR75 |
|
|
1 |
20-11-1683 -1239 |
[G] -(007) |
|||
|
阀门 |
5 |
20-02 -6525 -1212 |
[K]-(008) |
|||||||
|
8. 2-7 12.4 |
X |
WR90 |
RG-52/U (铜) RG-67/U |
UG-39/U UG-135/U |
|
|
罩 |
1 |
20-11-5015 -1239 |
[G] -(009) |
|
UG-1736/U UG-1737/U |
CPR -90F |
|
1 |
20-01-5115 -1239** |
[G] -(010) |
|||||
|
UG-136A/U UG-40A/U |
|
|
阀门 |
5 |
20-02 -6531-1212 |
[K]-(011) |
||||
|
UG-136B/U UG-408/U |
|
|
阀门 |
5 |
20-02 -6530 -1212 |
[K]-(012) |
||||
|
UG-1360/U UG-1361/U |
CPR -90G |
|
接触 |
3 |
20-03 -6630 -1212 |
[K]-(013) |
||||
|
7. 0-711. 0 |
|
WR102 |
|
UG-149A/U |
|
|
阀门 |
5 |
20-02 -6535 -1212 |
[K]-(014) |
|
7.05 -7 10.0 |
x, |
WR112 |
RG-51/U (铜) RG-68/U |
UG-51/U UG-138/U |
|
|
罩 |
1 |
20-11-5020 -1239 |
[G] -(015) |
|
UG-1734/U UG-1735/U |
CPR -112F |
|
平面接触 |
1 |
20-01-5120 -1239** |
[G]-(016) |
||||
|
UG-528/U UG-137B/U |
|
|
阀门 |
5 |
20-02 -6540 -1212 |
[K]-(017) |
||||
|
UG-1358/U UG-1359/U |
CPR -112G CPR-112G/F |
|
接触 |
3 |
20-03 -6635 -1212 |
[K]-(018) |
||||
|
接触窍门/平 |
6 |
20-03 -3686 -1212 |
- |
|||||||
|
5.85-7 8. 2 |
x. |
WR137 |
RG-50/U (铜) |
UG-344/U UG-441/U |
|
|
罩 |
2 |
20-11-5025 -1239 |
[G]-(019) |
|
UG-1732/U UG-1733/U |
CPR -137F |
|
平面接触 |
1 |
20-01-5125 -1239** |
[G] -(020) |
||||
|
|
|
CMR-137 |
平面接触 |
1 |
20-01-5225 -1239** |
[G] -(021) |
||||
|
UG-343B/U UG-440B/U |
|
|
阀门 |
4 |
20-02 -6545 -1212 |
[K]-(022) |
||||
|
UG-1356/U UG-1357/U |
CPR -137G |
|
接触 |
3 |
20-03 -6645 -1212 |
[K]-(023) |
||||
|
CPR-137G/F |
接触阀门/平 |
6 |
20-03 -3731-1212 |
- |
||||||
|
4.9 -7 7.05 |
|
WR159 |
|
UG-1730/U UG-1731/U |
CPR-159F |
|
平面接触 |
1 |
20-01-5130 -1239** |
[G]-1024) |
|
|
|
CMR-159 |
平面接触 |
1 |
20-01-5230 -1239** |
[G]-1025) |
||||
|
|
CPR -159G |
|
阀门 |
3 |
20-03 -L767-1212 |
- |
||||
|
|
CPR-159G/F |
|
接触阀门/平 |
6 |
20-03 -3980 -1212 |
- |
||||
|
3.95 -7 5.85 |
c |
WR187 |
RG-49/U |
UG-149A/U UG-407/U |
|
|
罩 |
2 |
20-11-5035 -1239 |
[G]-1026) |
|
UG-1728/U UG-1729/U |
CPR-187F |
|
平面接触 |
1 |
20-01-5135 -1239** |
[G]-1027) |
||||
|
|
|
CMR-187 |
平面接触 |
1 |
20-01-5235 -1239** |
[G]-1028) |
||||
|
UG-148C/U UG-406B/U |
|
|
阀门 |
4 |
20-02 -6555 -1212 |
[K]-1029) |
||||
|
UG-1352/U UG-1353/U |
CPR -187G |
|
接触 |
3 |
20-03 -6655 -1212 |
[K]-1030) |
||||
|
|
CPR-187G/F |
|
接触阀门/平 |
6Ht |
20-03 -3561-1212 |
- |
||||
|
3.30 -7 4. 90 |
|
WR229 |
|
UG-1726/U UG-1727/U |
CPR- 229F |
|
平面接触 |
1 |
20-01-5140 -1239** |
[G]-1031) |
|
|
|
CMR- 229 |
平面接触 |
1 |
20-01-5240 -1239** |
[G]-1032) |
||||
|
|
CPR -229G |
|
阀门 |
3 |
20-03 -L768-1212 |
- |
||||
|
2.6 -7 3.95 |
s |
WR284 |
RG-48/U |
UG-53/U UG-584/U |
|
|
罩 |
2 |
20-01-5045 -1239** |
[G]-1033) |
|
UG-1724/U UG-1725/U |
CPR- 284F |
|
平面接触 |
1 |
20-01-5145 -1239** |
[G]-1034) |
||||
|
|
|
CMR- 284 |
平面接触 |
1 |
20-01-5245 -1239** |
[G]-1035) |
||||
|
UG-548/U UG-585A/U |
|
|
阀门 |
5 |
20-02 -6565 -1212 |
[K]-1036) |
||||
|
UG-1348/U UG-1349/U |
CPR -284G |
|
接触 |
3 |
20-03 -6665 -1212 |
[K]-1037) |
||||
|
2.2-7 3.3 |
|
WR340 |
RG-112/U |
UG-533/U UG-554/U |
|
|
平面接触 |
1 |
20-01-5050 -1239** |
[G]-1038) |
|
|
CPR-340F |
平面接触 |
1 |
20-01-5150-1239** |
[G]-1039) |
|||||
|
1.7-7 2.6 |
w |
WR430 |
RG-104/U |
UG-435A/U UG-437A/U |
|
|
平面接触 |
1 |
20-01-5055 -1239** |
[G]-1040) |
|
|
CPR- 430F |
|
1 |
20-01-5155-1239** |
[G]-1041) |
|||||
|
|
CPR -430G |
|
阀门 |
3H |
20-03 -1560 -1212 |
- |
||||
|
|
CPR- 430G/F |
|
接触阀门/平 |
6Ht |
20-03 -6685 -1212 |
- |
||||
|
1.12-7 1.7 |
L |
WR650 |
RG-69/U |
UG-417A/U UG-418A/U |
|
|
平面接触 |
1 |
20-01-5060 -1239** |
[G]-1042) |
表3:
|
|
||||||||
|
尺寸 inches (mm) |
MIL物料编号:' M83528/
013G-I l
|
Chomerlcs 物料编号 |
||||||
|
A |
B |
C |
D |
E• |
T |
|||
|
±0.015 (0.38) |
+0.015 (0.38)- 0.000 |
±0.003 (0.08) |
||||||
|
1.496 (38.00) |
1.496 (38.00) |
0.760 (19.30) |
0.385 (9.78) |
0.155 (3.94) |
0.027 (0.69) |
7 |
20-11-1683-1239 |
|
|
0.750 (19.05) |
0.750 (19.05) |
0.145 (3.68) |
0.285 (7.24) |
0.1 16 (2.95) |
0.027 (0.69) |
1 |
20·U1-500(}.1239 |
|
|
0.875 (22.23) |
0.875 (22.23) |
0.175(4.45) |
0.425 (10.80) |
0.1 16 (2.95) |
0.027 (0.69) |
3 |
20·U1-5005-1239 |
|
|
1.313 (33.35) |
1.313 (33.35) |
0.630 (16.00) |
0.320 (8.13) |
0.140 (3.56) |
0.027 (0.69) |
5 |
20·U1-501(}.1239 |
|
|
1.625 (41.28) |
1.625 (41.28) |
0.905 (22.99) |
0.405 (10.29) |
0.169 (4.29) |
0.027 (0.69) |
9 |
20·U1-5015-1239 |
|
|
1.875 (47.63) |
1.875 (47.63) |
1.130 (28.70) |
0.505 (12.83) |
0.180 (4.57) |
0.027 (0.69) |
15 |
20-11-5020-1239 |
|
|
3.750 (92.25) |
5.440 (138.18) |
1.710 (43A3) |
3.410 (86.61) |
0.264 (6.71)
0.250 (6.35)
|
0.027 (0.69) |
38 |
20.01-5050-1239 |
|
|
4.188 (106.38) |
6.344(161.14) |
2.160 (54.86) |
4.310 (109A7) |
0.266 (6.76)
0.281 (7.14)
|
0.027 (0.69) |
40 |
20·U1-5055-1239 |
|
|
5.438 (138.13) |
8.688 (220.68) |
3.260 (82.80) |
6.510 (165.35) |
0.250 (6.35)
0.328 (8.33)
|
0.027 (0.69) |
42 |
20·U1-5060-1239 |
|
|
1.594 (40.49) |
2.094 (53.19) |
OA05 (10.29) |
0.905 (22.99) |
0.169 (4.29) |
0.027 (0.69) |
10 |
20·U1-5115-1239 |
|
|
1.750 (44.45) |
2.500 (63.50) |
0.505 (12.83) |
1.130 (28.70) |
0.171 (4.34) |
0.027 (0.69) |
16 |
20·U1-5120-1239 |
|
|
1.937 (49.20) |
2.687 (68.25) |
0.633(16.08) |
1.380 (35.05) |
0.206 (5.23) |
0.027 (0.69) |
20 |
20·01·5125·1239 |
|
|
2.438 (61.93) |
3.188 (80.98) |
0.805 (20.45) |
1.600 (40.64) |
0.257 (6.53) |
0.027 (0.69) |
24 |
20·01·5130·1239 |
|
|
3.500 (88.90) |
2.500 (63.50) |
1.880 (47.75) |
0.880 (22.35) |
0.266 (6.76) |
0.027 (0.69) |
27 |
20·01-5135-1239 |
|
|
2.750 (69.85) |
3.875 (98.43) |
1.155 (29.34) |
2.300 (58.42) |
0.270 (6.86) |
0.027 (0.69) |
31 |
20·01-5140-1239 |
|
|
4.50 (114.30) |
3.000 (76.20) |
2.850 (72.39) |
1.350 (34.29) |
0.266 (6.76) |
0.027 (0.69) |
34 |
20·01-5145-1239 |
|
|
3.750 (95.25) |
5.438 (138.13) |
1.710 (43.43) |
3.410 (86.61) |
0.266 (6.76) |
0.027 (0.69) |
39 |
20·01-5150·1239 |
|
|
6.344 (161.14) |
4.188 (106.38) |
4.310 (109.47) |
2.160 (54.86) |
0.266 (6.76) |
0.027 (0.69) |
41 |
20·01-5155·1239 |
|
|
1.531 (38.89) |
2.281 (57.94) |
0.632 (16.05) |
1.382 (35.10) |
0.150 (3.81) |
0.027 (0.69) |
21 |
20·01-5225·1239 |
|
|
1.750 (44.45) |
2.500 (63.50) |
0.800 (20.32) |
1.600 (40.64) |
0.160 (4.06)
0.150 (3.81)
|
0.027 (0.69) |
25 |
20·01-5230·1239 |
|
|
1.784 (45.31) |
2.781 (70.64) |
0.882 (22.40) |
1.882 (47.80) |
0.156 (3.96)
0.141 (3.58)
|
0.027 (0.69) |
28 |
20·01-5235·1239 |
|
|
2.000 (50.80) |
3.156 (80.16) |
1.155 (29.34) |
2.300 (58.42) |
0.150 (3.81) |
0.027 (0.69) |
32 |
20·01-5240·1239 |
|
|
3.844 (37.64) |
2.344 (59.54) |
2.850 (72.39) |
1.350 (34.29) |
0.172 (4.37)
0.188 (4.78)
|
0.027 (0.69) |
28 |
20·01·5245·1239 |
|
表4:
表5:
表6:
表7:
表8:
ag8集团
效劳热线:400-051-8106
公司传真:0512-57929135
企业邮箱:ksqw@ksqw66.com
咨询QQ:2879696435
公司地点:江苏省昆山市张浦镇南港虹新路28号
采购:派克固漂亮导电弹性体/导电橡胶——波导衬料
- *联系人:
- *手机:
- 公司名称:
- 邮箱:
- *采购意向:
-
*验证码:
跟此产品相关的产品 / Related Products
400-051-8106
传真:0512-57929135
邮箱:ksqw@ksqw66.com
地点:江苏省昆山市张浦镇南港虹新路28号










微信公众号
手机网站